Gear Pump Replacement
Pump displacement determines the flow rate a gear pump will produce. Generally when replacing a pump try to find one with similar displacement to that of the original. This will result in performance as it was originally designed.

Pump Displacements are in C.I.R. (cubic inches displacement per shaft revolution). Our website lists pumps in displacement order when performing searches.
To select a replacement for a broken or worn out hydraulic pump or motor that has no nameplate or has no rating marked on its case, make the internal physical measurements and then use our Gear Pump Sizing calculator below.
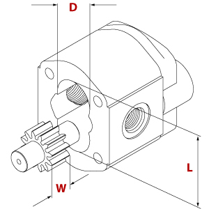
Make all measurements in inches, as accurately as possible. Using a caliper is recommended. Convert fractional dimensions into decimal equivalents for use in the calculator.
- Measure gear width, W
- Measure bore diameter of one of the gear chambers:
this is D - Measure distance across both gear chambers; this is L
Note: This calculator is only as accurate as your measurements. Using a dial caliper to take these measurements is highly recommended.
| Hydraulic Gear Pump Sizing |
|
Please Note: We make every effort to provide accurate and correct technical support for the products we sell. This information and support is provided "AS-IS" without warranties of any kind, and is subject to change without notice. Our trained product support staff has collected this information from various sources and provides it to you for informational purposes only. We do not warrant or make any representations regarding how you choose to use this information. |